Logo
Ru| En

Office: M. Baumanskaya

Warehouse: Leninsky urban district

Loading

Accessories for Geberit Mapress system

Accessories for Geberit Mapress system can be required for installation of pipeline. The accessories with yellow marking (for example yellow-brown rubber O-ring) are designed for gas installations with natural gases and liquefied gases.

The Geberit Company produces axial expansion fittings made of stainless steel and carbon steel. The axial expansion fittings of carbon steel are equipped with bellows made of stainless steel.

The group of products includes ball valves with one or two press connections and non-return valves. They are supplied with black O-ring (CIIR). They leak if they are unpressed.

Also the company produces special adapters - they are available for connecting Geberit Mapress system to Geberit Mepla system.

Photo Наименование Article Цена
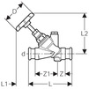
Geberit Mapress angle-seat stop valve, d 15 [Code number: 94882]
Details
94882

ATTENTION! This product is temporarily unavailable for order!

Application purpose:

  • For drinking water installations

Characteristics:

  • No dead space, valve completely scoured out
  • Pressing sockets
  • Maintenance-free spindle seal with self-lubricating lip seal EPDM
  • Valve seat of stainless steel
  • Valve body of gunmetal
  • Upper part of brass
  • Connection for emptying valve, closed

Scope of delivery:

  • Hand wheel set

Technical data

Operating temperature: 0–90 °C

Download the installation instructions: Geberit Mapress system

d D L L1 L2 Z Z1 PN
mm cm cm cm cm cm cm bar
15 6 9,4 3,7 9 1,5 3,9 16
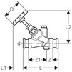
Geberit Mapress angle-seat stop valve, d 18 [Code number: 94883]
Details
94883

ATTENTION! This product is temporarily unavailable for order!

Application purpose:

  • For drinking water installations

Characteristics:

  • No dead space, valve completely scoured out
  • Pressing sockets
  • Maintenance-free spindle seal with self-lubricating lip seal EPDM
  • Valve seat of stainless steel
  • Valve body of gunmetal
  • Upper part of brass
  • Connection for emptying valve, closed

Scope of delivery:

  • Hand wheel set

Technical data

Operating temperature: 0–90 °C

Download the installation instructions: Geberit Mapress system

d D L L1 L2 Z Z1 PN
mm cm cm cm cm cm cm bar
18 6 9,5 3,3 9 1,1 4,5 16
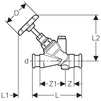
Geberit Mapress angle-seat stop valve, d 22 [Code number: 94884]
Details
94884

ATTENTION! This product is temporarily unavailable for order!

Application purpose:

  • For drinking water installations

Characteristics:

  • No dead space, valve completely scoured out
  • Pressing sockets
  • Maintenance-free spindle seal with self-lubricating lip seal EPDM
  • Valve seat of stainless steel
  • Valve body of gunmetal
  • Upper part of brass
  • Connection for emptying valve, closed

Scope of delivery:

  • Hand wheel set

Technical data

Operating temperature: 0–90 °C

Download the installation instructions: Geberit Mapress system

d D L L1 L2 Z Z1 PN
mm cm cm cm cm cm cm bar
22 6 10,9 3,2 10,5 2,2 4,5 16
Geberit Mapress angle-seat stop valve, d 28 [Code number: 94885]
Details
94885

ATTENTION! This product is temporarily unavailable for order!

Application purpose:

  • For drinking water installations

Characteristics:

  • No dead space, valve completely scoured out
  • Pressing sockets
  • Maintenance-free spindle seal with self-lubricating lip seal EPDM
  • Valve seat of stainless steel
  • Valve body of gunmetal
  • Upper part of brass
  • Connection for emptying valve, closed

Scope of delivery:

  • Hand wheel set

Operating temperature: 0–90 °C

Download the installation instructions: Geberit Mapress system

d D L L1 L2 Z Z1 PN
mm cm cm cm cm cm cm bar
28 7 13 4,4 13,2 2,1 6,3 16
Geberit Mapress angle-seat stop valve, d 35 [Code number: 94886]
Details
94886

ATTENTION! This product is temporarily unavailable for order!

Application purpose:

  • For drinking water installations

Characteristics:

  • No dead space, valve completely scoured out
  • Pressing sockets
  • Maintenance-free spindle seal with self-lubricating lip seal EPDM
  • Valve seat of stainless steel
  • Valve body of gunmetal
  • Upper part of brass
  • Connection for emptying valve, closed

Scope of delivery:

  • Hand wheel set

Technical data

Operating temperature: 0–90 °C

Download the installation instructions: Geberit Mapress system

d D L L1 L2 Z Z1 PN
mm cm cm cm cm cm cm bar
35 7 15,1 5,6 15,4 2,9 7 16
Geberit Mapress angle-seat stop valve, d 42 [Code number: 94887]
Details
94887

ATTENTION! This product is temporarily unavailable for order!

Application purpose:

  • For drinking water installations

Characteristics:

  • No dead space, valve completely scoured out
  • Pressing sockets
  • Maintenance-free spindle seal with self-lubricating lip seal EPDM
  • Valve seat of stainless steel
  • Valve body of gunmetal
  • Upper part of brass
  • Connection for emptying valve, closed

Scope of delivery:

  • Hand wheel set

Technical data

Operating temperature: 0–90 °C

Download the installation instructions: Geberit Mapress system

d D L L1 L2 Z Z1 PN
mm cm cm cm cm cm cm bar
42 7 17,8 4,3 16,2 3 8,8 16
Geberit Mapress angle-seat stop valve, d 54 [Code number: 94888]
Details
94888

ATTENTION! This product is temporarily unavailable for order!

Application purpose:

  • For drinking water installations

Characteristics:

  • No dead space, valve completely scoured out
  • Pressing sockets
  • Maintenance-free spindle seal with self-lubricating lip seal EPDM
  • Valve seat of stainless steel
  • Valve body of gunmetal
  • Upper part of brass
  • Connection for emptying valve, closed

Scope of delivery:

  • Hand wheel set

Technical data

Operating temperature: 0–90 °C

Download the installation instructions: Geberit Mapress system

d D L L1 L2 Z Z1 PN
mm cm cm cm cm cm cm bar
54 9 21,4 5,5 19,3 4,4 10 16
Geberit Mapress Flush-mounted ball valve, 1.4401, d 15mm, PN 16 bar [Code number: 94912]
Details
94912

ATTENTION! This product is temporarily unavailable for order!

Geberit Mapress Flush-mounted ball valve, 1.4401, d 18mm, PN 16 bar [Code number: 94913]
Details
94913

ATTENTION! This product is temporarily unavailable for order!

Geberit Mapress Flush-mounted ball valve, 1.4401, d 22mm, PN 16 bar [Code number: 94914]
Details
94914

ATTENTION! This product is temporarily unavailable for order!

Geberit Mapress ball valve, NPW, with actuator lever, d 15 [Code number: 94922]
Details
94922

ATTENTION! This product is temporarily unavailable for order!

Application purpose:

  • For exposed installation
  • For installations with Mapress Carbon Steel and Mapress Copper
  • For heating installations
  • Not suitable for drinking water
  • Not suitable for gas installations

Characteristics:

  • Ball made of chrome-plated brass
  • Leaky if unpressed

Scope of delivery:

  • Seal rings CIIR black

Technical data

Product material: Brass

Download the installation instructions: Geberit Mapress system

d L L1 L2 Z PN
mm cm cm cm cm bar
15 7,7 4,4 8,5 1,7 16
Geberit Mapress ball valve, NPW, with actuator lever, d 18 [Code number: 94923]
Details
94923

ATTENTION! This product is temporarily unavailable for order!

Application purpose:

  • For exposed installation
  • For installations with Mapress Carbon Steel and Mapress Copper
  • For heating installations
  • Not suitable for drinking water
  • Not suitable for gas installations

Characteristics:

  • Ball made of chrome-plated brass
  • Leaky if unpressed

Scope of delivery:

  • Seal rings CIIR black

Product material: Brass

Download the installation instructions: Geberit Mapress system

d L L1 L2 Z PN
mm cm cm cm cm bar
18 8 4,4 8,5 1,7 16
Geberit Mapress ball valve, NPW, with actuator lever, d 22 [Code number: 94924]
Details
94924

ATTENTION! This product is temporarily unavailable for order!

Application purpose:

  • For exposed installation
  • For installations with Mapress Carbon Steel and Mapress Copper
  • For heating installations
  • Not suitable for drinking water
  • Not suitable for gas installations

Characteristics:

  • Ball made of chrome-plated brass
  • Leaky if unpressed

Scope of delivery:

  • Seal rings CIIR black

Product material: Brass

Download the installation instructions: Geberit Mapress system

d L L1 L2 Z PN
mm cm cm cm cm bar
22 8,9 5,2 10,6 2,1 16
Geberit Mapress ball valve, NPW, with actuator lever, d 28 [Code number: 94925]
Details
94925

ATTENTION! This product is temporarily unavailable for order!

Application purpose:

  • For exposed installation
  • For installations with Mapress Carbon Steel and Mapress Copper
  • For heating installations
  • Not suitable for drinking water
  • Not suitable for gas installations

Characteristics:

  • Ball made of chrome-plated brass
  • Leaky if unpressed

Scope of delivery:

  • Seal rings CIIR black

Technical data

Product material: Brass

Download the installation instructions: Geberit Mapress system

d L L1 L2 Z PN
mm cm cm cm cm bar
28 9,6 5,6 10,6 2,4 16
Geberit Mapress ball valve, NPW, with actuator lever, d 35 [Code number: 94926]
Details
94926

ATTENTION! This product is temporarily unavailable for order!

Application purpose:

  • For exposed installation
  • For installations with Mapress Carbon Steel and Mapress Copper
  • For heating installations
  • Not suitable for drinking water
  • Not suitable for gas installations

Characteristics:

  • Ball made of chrome-plated brass
  • Leaky if unpressed

Scope of delivery:

  • Seal rings CIIR black

Technical data

Product material: Brass

Download the installation instructions: Geberit Mapress system

d L L1 L2 Z PN
mm cm cm cm cm bar
35 10,9 6,1 10,6 2,7 16
Geberit Mapress ball valve, NPW, with actuator lever, d 42 [Code number: 94927]
Details
94927

ATTENTION! This product is temporarily unavailable for order!

Application purpose:

  • For exposed installation
  • For installations with Mapress Carbon Steel and Mapress Copper
  • For heating installations
  • Not suitable for drinking water
  • Not suitable for gas installations

Characteristics:

  • Ball made of chrome-plated brass
  • Leaky if unpressed

Scope of delivery:

  • Seal rings CIIR black

Product material: Brass

Download the installation instructions: Geberit Mapress system

d L L1 L2 Z PN
mm cm cm cm cm bar
42 14,1 7,9 15,5 3,6 16
Geberit Mapress ball valve, NPW, with actuator lever, d 54 [Code number: 94928]
Details
94928

ATTENTION! This product is temporarily unavailable for order!

Application purpose:

  • For exposed installation
  • For installations with Mapress Carbon Steel and Mapress Copper
  • For heating installations
  • Not suitable for drinking water
  • Not suitable for gas installations

Characteristics:

  • Ball made of chrome-plated brass
  • Leaky if unpressed

Scope of delivery:

  • Seal rings CIIR black

Technical data

Product material: Brass

Download the installation instructions: Geberit Mapress system

d L L1 L2 Z PN
mm cm cm cm cm bar
54 15,7 9,4 17,5 3,9 16
Geberit Mapress lever set for exposed stop valve, DN 12/15 [Code number: 94931]
Details
94931

ATTENTION! This product is temporarily unavailable for order!

Application purpose Scope of delivery DN
    mm
For Mapress surface-mounted stopvalve Lock nut 15
Geberit Mapress lever set for exposed stop valve, DN 20/32 [Code number: 94932]
Details
94932

ATTENTION! This product is temporarily unavailable for order!

Application purpose Scope of delivery DN
    мм
For Mapress surface-mounted stopvalve Lock nut 20 / 25 / 32
Geberit Mapress lever set for exposed stop valve, DN 40 [Code number: 94933]
Details
94933

ATTENTION! This product is temporarily unavailable for order!

Application purpose Scope of delivery DN
    мм
For Mapress surface-mounted stopvalve Lock nut 40

See also