Логотип
Ru| En

Офис: м. Бауманская

Склад: Ленинский городской округ

Loading

Аксессуары системы Geberit Mapress

Аксессуары системы Geberit Mapress могут потребоваться при монтаже трубопровода. Аксессуары с жёлтой маркировкой, вроде жёлто-коричневого резинного уплотнительного кольца, предназначаются для систем подачи сжиженного или природного газа.

Выпускаются компенсаторы линейных удлинений, изготавливаемые как из нержавеющей, так и из углеродистой стали. Компенсаторы линейных удлинений из углеродистой стали оснащаются сильфоном, выполненным из нержавеющей стали.

В данную группу товаров также входит трубопроводная арматура, а именно шаровые краны с одним или двумя пресс-соединениями и обратные клапаны. Трубопроводная арматура поставляется с чёрными уплотнительными кольцами (CIIR). В неопрессованном состоянии трубопроводная арматура Geberit Mapress даёт течь.

Также выпускаются специальные переходные соединения, предназначенные для соединения системы Geberit Mapress с системой Geberit Mepla.

Фото Наименование Артикул Цена
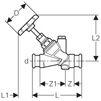
Клапан запорный Geberit Mapress угловой, d - 15 [Артикул: 94882]
Подробнее
94882

ВНИМАНИЕ! Товар временно недоступен для заказа!

Цель применения:

  • Для монтажа систем подачи питьевой воды

Характеристики:

  • Внутренняя поверхность тщательно обработана;
  • Пресс-муфты;
  • Уплотнение шпинделя с самосмазывающимся кольцевым уплотнением из EPDM не требует техобслуживания;
  • Седло клапана из высококачественной стали;
  • Корпус клапана выполнен из сплава бронзы;
  • Верхняя часть из латуни.

В объём поставки включено:

  • Комплект маховичка

Технические данные

Рабочая температура: 0-90 °C

Скачать инструкцию по монтажу: Система Geberit Mapress

d D L L1 L2 Z Z1 PN
мм см см см см см см бар
15 6 9,4 3,7 9 1,5 3,9 16
Клапан запорный Geberit Mapress угловой, d - 18 [Артикул: 94883]
Подробнее
94883

ВНИМАНИЕ! Товар временно недоступен для заказа!

Цель применения:

  • Для монтажа систем подачи питьевой воды

Характеристики:

  • Внутренняя поверхность тщательно обработана;
  • Пресс-муфты;
  • Уплотнение шпинделя с самосмазывающимся кольцевым уплотнением из EPDM не требует техобслуживания;
  • Седло клапана из высококачественной стали;
  • Корпус клапана выполнен из сплава бронзы;
  • Верхняя часть из латуни.

В объём поставки включено:

  • Комплект маховичка

Технические данные

Рабочая температура: 0-90 °C

Скачать инструкцию по монтажу: Система Geberit Mapress

d D L L1 L2 Z Z1 PN
мм см см см см см см бар
18 6 9,5 3,3 9 1,1 4,5 16
Клапан запорный Geberit Mapress угловой, d - 22 [Артикул: 94884]
Подробнее
94884

ВНИМАНИЕ! Товар временно недоступен для заказа!

Цель применения:

  • Для монтажа систем подачи питьевой воды

Характеристики:

  • Внутренняя поверхность тщательно обработана;
  • Пресс-муфты;
  • Уплотнение шпинделя с самосмазывающимся кольцевым уплотнением из EPDM не требует техобслуживания;
  • Седло клапана из высококачественной стали;
  • Корпус клапана выполнен из сплава бронзы;
  • Верхняя часть из латуни.

В объём поставки включено:

  • Комплект маховичка

Технические данные

Рабочая температура: 0-90 °C

Скачать инструкцию по монтажу: Система Geberit Mapress

d D L L1 L2 Z Z1 PN
мм см см см см см см бар
22 6 10,9 3,2 10,5 2,2 4,5 16
Клапан запорный Geberit Mapress угловой, d - 28 [Артикул: 94885]
Подробнее
94885

ВНИМАНИЕ! Товар временно недоступен для заказа!

Цель применения:

  • Для монтажа систем подачи питьевой воды

Характеристики:

  • Внутренняя поверхность тщательно обработана;
  • Пресс-муфты;
  • Уплотнение шпинделя с самосмазывающимся кольцевым уплотнением из EPDM не требует техобслуживания;
  • Седло клапана из высококачественной стали;
  • Корпус клапана выполнен из сплава бронзы;
  • Верхняя часть из латуни.

В объём поставки включено:

  • Комплект маховичка

Рабочая температура: 0-90 °C

Скачать инструкцию по монтажу: Система Geberit Mapress

d D L L1 L2 Z Z1 PN
мм см см см см см см бар
28 7 13 4,4 13,2 2,1 6,3 16
Клапан запорный Geberit Mapress угловой, d - 35 [Артикул: 94886]
Подробнее
94886

ВНИМАНИЕ! Товар временно недоступен для заказа!

Цель применения:

  • Для монтажа систем подачи питьевой воды

Характеристики:

  • Внутренняя поверхность тщательно обработана;
  • Пресс-муфты;
  • Уплотнение шпинделя с самосмазывающимся кольцевым уплотнением из EPDM не требует техобслуживания;
  • Седло клапана из высококачественной стали;
  • Корпус клапана выполнен из сплава бронзы;
  • Верхняя часть из латуни.

В объём поставки включено:

  • Комплект маховичка

Технические данные

Рабочая температура: 0-90 °C

Скачать инструкцию по монтажу: Система Geberit Mapress

d D L L1 L2 Z Z1 PN
мм см см см см см см бар
35 7 15,1 5,6 15,4 2,9 7 16
Клапан запорный Geberit Mapress угловой, d - 42 [Артикул: 94887]
Подробнее
94887

ВНИМАНИЕ! Товар временно недоступен для заказа!

Цель применения:

  • Для монтажа систем подачи питьевой воды

Характеристики:

  • Внутренняя поверхность тщательно обработана;
  • Пресс-муфты;
  • Уплотнение шпинделя с самосмазывающимся кольцевым уплотнением из EPDM не требует техобслуживания;
  • Седло клапана из высококачественной стали;
  • Корпус клапана выполнен из сплава бронзы;
  • Верхняя часть из латуни.

В объём поставки включено:

  • Комплект маховичка

Технические данные

Рабочая температура: 0-90 °C

Скачать инструкцию по монтажу: Система Geberit Mapress

d D L L1 L2 Z Z1 PN
мм см см см см см см бар
42 7 17,8 4,3 16,2 3 8,8 16
Клапан запорный Geberit Mapress угловой, d - 54 [Артикул: 94888]
Подробнее
94888

ВНИМАНИЕ! Товар временно недоступен для заказа!

Цель применения:

  • Для монтажа систем подачи питьевой воды

Характеристики:

  • Внутренняя поверхность тщательно обработана;
  • Пресс-муфты;
  • Уплотнение шпинделя с самосмазывающимся кольцевым уплотнением из EPDM не требует техобслуживания;
  • Седло клапана из высококачественной стали;
  • Корпус клапана выполнен из сплава бронзы;
  • Верхняя часть из латуни.

В объём поставки включено:

  • Комплект маховичка

Технические данные

Рабочая температура: 0-90 °C

Скачать инструкцию по монтажу: Система Geberit Mapress

d D L L1 L2 Z Z1 PN
мм см см см см см см бар
54 9 21,4 5,5 19,3 4,4 10 16
Кран шаровой Geberit Mapress для скрытого монтажа, 1.4401, d - 15мм, PN 16бар [Артикул: 94912]
Подробнее
94912

ВНИМАНИЕ! Товар временно недоступен для заказа!

Кран шаровой Geberit Mapress для скрытого монтажа, 1.4401, d - 18мм, PN 16бар [Артикул: 94913]
Подробнее
94913

ВНИМАНИЕ! Товар временно недоступен для заказа!

Кран шаровой Geberit Mapress для скрытого монтажа, 1.4401, d - 22мм, PN 16бар [Артикул: 94914]
Подробнее
94914

ВНИМАНИЕ! Товар временно недоступен для заказа!

Кран шаровой Geberit Mapress с пресс-соединениями, d - 15 [Артикул: 94922]
Подробнее
94922

ВНИМАНИЕ! Товар временно недоступен для заказа!

Цель применения:

  • Для наружного монтажа
  • Возможен монтаж с системами Mapress  из углеродистой стали и меди
  • Возможно использование в системах отопления
  • Не предназначен для монтажа систем подачи питьевой воды
  • Не предназначен для монтажа шаховых трубопроводов

Характеристики:

  • Шар из хромированной латуни;
  • Шаровой кран в неопрессованном состоянии даёт течь.

В объём поставки включено:

  • Чёрные уплотнительные кольца (CIIR)

Технические данные

Материал: Латунь

Скачать инструкцию по монтажу: Система Geberit Mapress

d L L1 L2 Z PN
мм см см см см бар
15 7,7 4,4 8,5 1,7 16
Кран шаровой Geberit Mapress с пресс-соединениями, d - 18 [Артикул: 94923]
Подробнее
94923

ВНИМАНИЕ! Товар временно недоступен для заказа!

Цель применения:

  • Для наружного монтажа
  • Возможен монтаж с системами Mapress  из углеродистой стали и меди
  • Возможно использование в системах отопления
  • Не предназначен для монтажа систем подачи питьевой воды
  • Не предназначен для монтажа шаховых трубопроводов

Характеристики:

  • Шар из хромированной латуни;
  • Шаровой кран в неопрессованном состоянии даёт течь.

В объём поставки включено:

  • Чёрные уплотнительные кольца (CIIR)

Материал: Латунь

Скачать инструкцию по монтажу: Система Geberit Mapress

d L L1 L2 Z PN
мм см см см см бар
18 8 4,4 8,5 1,7 16
Кран шаровой Geberit Mapress с пресс-соединениями, d - 22 [Артикул: 94924]
Подробнее
94924

ВНИМАНИЕ! Товар временно недоступен для заказа!

Цель применения:

  • Для наружного монтажа
  • Возможен монтаж с системами Mapress  из углеродистой стали и меди
  • Возможно использование в системах отопления
  • Не предназначен для монтажа систем подачи питьевой воды
  • Не предназначен для монтажа шаховых трубопроводов

Характеристики:

  • Шар из хромированной латуни;
  • Шаровой кран в неопрессованном состоянии даёт течь.

В объём поставки включено:

  • Чёрные уплотнительные кольца (CIIR)

Материал: Латунь

Скачать инструкцию по монтажу: Система Geberit Mapress

d L L1 L2 Z PN
мм см см см см бар
22 8,9 5,2 10,6 2,1 16
Кран шаровой Geberit Mapress с пресс-соединениями, d - 28 [Артикул: 94925]
Подробнее
94925

ВНИМАНИЕ! Товар временно недоступен для заказа!

Цель применения:

  • Для наружного монтажа
  • Возможен монтаж с системами Mapress  из углеродистой стали и меди
  • Возможно использование в системах отопления
  • Не предназначен для монтажа систем подачи питьевой воды
  • Не предназначен для монтажа шаховых трубопроводов

Характеристики:

  • Шар из хромированной латуни;
  • Шаровой кран в неопрессованном состоянии даёт течь.

В объём поставки включено:

  • Чёрные уплотнительные кольца (CIIR)

Технические данные

Материал: Латунь

Скачать инструкцию по монтажу: Система Geberit Mapress

d L L1 L2 Z PN
мм см см см см бар
28 9,6 5,6 10,6 2,4 16
Кран шаровой Geberit Mapress с пресс-соединениями, d - 35 [Артикул: 94926]
Подробнее
94926

ВНИМАНИЕ! Товар временно недоступен для заказа!

Цель применения:

  • Для наружного монтажа
  • Возможен монтаж с системами Mapress  из углеродистой стали и меди
  • Возможно использование в системах отопления
  • Не предназначен для монтажа систем подачи питьевой воды
  • Не предназначен для монтажа шаховых трубопроводов

Характеристики:

  • Шар из хромированной латуни;
  • Шаровой кран в неопрессованном состоянии даёт течь.

В объём поставки включено:

  • Чёрные уплотнительные кольца (CIIR)

Технические данные

Материал: Латунь

Скачать инструкцию по монтажу: Система Geberit Mapress

d L L1 L2 Z PN
мм см см см см бар
35 10,9 6,1 10,6 2,7 16
Кран шаровой Geberit Mapress с пресс-соединениями, d - 42 [Артикул: 94927]
Подробнее
94927

ВНИМАНИЕ! Товар временно недоступен для заказа!

Цель применения:

  • Для наружного монтажа
  • Возможен монтаж с системами Mapress  из углеродистой стали и меди
  • Возможно использование в системах отопления
  • Не предназначен для монтажа систем подачи питьевой воды
  • Не предназначен для монтажа шаховых трубопроводов

Характеристики:

  • Шар из хромированной латуни;
  • Шаровой кран в неопрессованном состоянии даёт течь.

В объём поставки включено:

  • Чёрные уплотнительные кольца (CIIR)

Материал: Латунь

Скачать инструкцию по монтажу: Система Geberit Mapress

d L L1 L2 Z PN
мм см см см см бар
42 14,1 7,9 15,5 3,6 16
Кран шаровой Geberit Mapress с пресс-соединениями, d - 54 [Артикул: 94928]
Подробнее
94928

ВНИМАНИЕ! Товар временно недоступен для заказа!

Цель применения:

  • Для наружного монтажа
  • Возможен монтаж с системами Mapress  из углеродистой стали и меди
  • Возможно использование в системах отопления
  • Не предназначен для монтажа систем подачи питьевой воды
  • Не предназначен для монтажа шаховых трубопроводов

Характеристики:

  • Шар из хромированной латуни;
  • Шаровой кран в неопрессованном состоянии даёт течь.

В объём поставки включено:

  • Чёрные уплотнительные кольца (CIIR)

Технические данные

Материал: Латунь

Скачать инструкцию по монтажу: Система Geberit Mapress

d L L1 L2 Z PN
мм см см см см бар
54 15,7 9,4 17,5 3,9 16
Рукоятка Geberit Mapres шарового крана, DN - 12/15 [Артикул: 94931]
Подробнее
94931

ВНИМАНИЕ! Товар временно недоступен для заказа!

Цель применения Объём поставки DN
    мм
Для шарового крана Mapress,
устанавливаемого снаружи
Гайка 15
Рукоятка Geberit Mapres шарового крана, DN - 20/32 [Артикул: 94932]
Подробнее
94932

ВНИМАНИЕ! Товар временно недоступен для заказа!

Цель применения Объём поставки DN
    мм
Для шарового крана Mapress,
устанавливаемого снаружи
Гайка 20 / 25 / 32
Рукоятка Geberit Mapres шарового крана, DN - 40 [Артикул: 94933]
Подробнее
94933

ВНИМАНИЕ! Товар временно недоступен для заказа!

Цель применения Объём поставки DN
    мм
Для шарового крана Mapress,
устанавливаемого снаружи
Гайка 40

Смотрите также